圣邦微电子重磅推出4/8通道、24位、64kSPS同步采样精密Σ-Δ型ADC—SGM52461S4/SGM52461S8,凭借两大核心技术亮点,为多场景精密采样提供更高效、更精准的解决方案!
作为一款高度集成的模数转换器,SGM52461S4/SGM52461S8广泛适配医疗与保健、电池测试系统(BTS)、电源保护(如继电器保护与断路器)、能源计量(包括电能质量分析、单相及多相计量)、同步采样数据采集系统(DAS),以及抖动测试与测量等多元化工业及民生场景,兼顾实用性与适配性。
亮点一
支持可编程相位调整,采样精准度再升级
SGM52461S4/SGM52461S8额外搭载可编程相位调整功能,这一优势可有效补偿采样过程中的相位偏差,大幅提升信号采样的同步性与准确性。无论是工业功率监控中的相位同步采集,还是能源计量中的精准相位检测,都能轻松应对,解决传统ADC相位偏差导致的测量误差难题,让数据采集更可靠。
亮点二
有效分辨率显著提升,1kSPS下最高可达20位
在核心性能上,该器件实现性能突破:最高有效分辨率在1kSPS采样速率下接近20位!更高的分辨率意味着更强的信号识别能力,可精准捕捉微弱信号细节,搭配1kSPS速率下高达119dB(典型值)的动态范围,以及典型值-110dB的串扰抑制,8kSPS下典型值-98dB的总谐波失真(THD),让采样数据更真实、更精准,满足高端测试与测量场景的严苛需求。
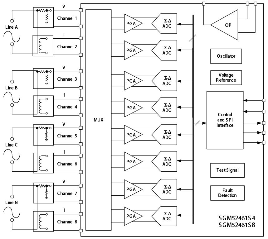
此外,SGM52461S8专为工业功率监控与保护、测试与测量应用量身打造,还配备八个差分输入通道,支持同步采样和24位Σ-Δ转换,集成可编程增益放大器(PGA)(增益选项为1、2、4、8和12)、内部基准电压源和片上振荡器,可提供1k、2k、4k、8k、16k、32k和64kSPS的可扩展数据速率,灵活适配不同场景的采样需求。
SGM52461S4和SGM52461S8均采用高阻抗输入设计,无需额外外围电路,即可直接连接电压互感器、电流互感器或罗戈夫斯基线圈,完美适配线路电压和电流测量场景。每通道配备灵活的输入多路复用器,可独立连接内部生成的测试、温度和故障检测信号;集成带DAC控制触发阈值的比较器,实现内部故障检测,同时内置设备测试能力和故障监控功能,搭配四个通用输入输出接口(GPIO)和SPI兼容通信接口,操作更便捷、功能更全面。
电源表现同样出色,器件提供灵活的模拟电源选项:可工作在3V至5V的单极电源范围,或±2.5V的双极电源范围(支持直流耦合),数字电源范围为1.8V至3.6V。当模拟电源电压为3V时,每通道典型功耗仅为2.2mW,在保证高性能的同时,实现了出色的能效平衡。此外,该系列器件支持-40℃至+125℃的工业温度范围,采用符合环保理念的TQFP-10×10-64L绿色封装。
圣邦微电子始终以技术创新为核心。SGM52461S4/SGM52461S8凭借可编程相位调整和高有效分辨率两大优势,进一步完善了精密ADC产品矩阵,为各行业精密采样应用注入新动力。未来,圣邦微电子将持续深耕模拟芯片领域,推出更多兼具性能与性价比的产品,赋能产业升级!

图1 SGM52461S4/SGM52461S8简化原理图
关于圣邦微电子
圣邦微电子(北京)股份有限公司(股票代码300661)作为高性能、高品质综合模拟集成电路供应商,产品覆盖信号链、电源管理、传感器及存储器等领域。公司拥有38大类6,800余款可销售型号,为工业与能源、汽车、网络与计算和消费电子等领域提供各类模拟及混合信号创新解决方案。
来源:圣邦微电子