产品概述
随着现代智能化的发展,智能化设备对传感器的要求越来越高,通常传感器(比如红外测温仪)的信号都非常弱(小于几 mV),随温度发生的变化更小,有些传感器的变化小于10uV/°C,在复杂的环境中精确测量此类信号是一项挑战。因此在一些应用中,前置放大器是获得信号所必需的,且在系统中必须具有超低的失调电压和温漂。
力芯微推出了专门为放大弱电压信号而设计的,高精度,零漂移和低功耗的高性能运算放大器。ET85302在整个时间和温度范围内的失调电压非常低(最大15uV),经过优化,可以测量低电压信号,且几乎零漂移(0.02uV/°C),有利于最小化温度检测误差,其拥有轨到轨输入/输出性能,低静态电流(17uA),-40℃至+125°℃的工作温度范围。
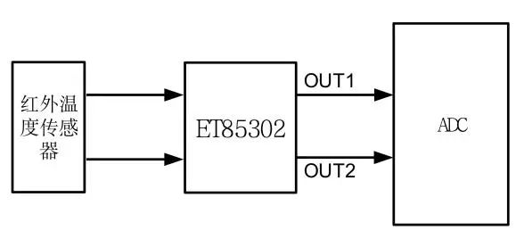
应用于红外温度计内部ADC的前置放大可有效提高测量的精确度,减小测量误差,凭借低功耗、高精度与零漂移的特性,ET85302成为红外测温仪,手持式测试设备,电子秤,电池供电仪器等便携式设备的理想解决方案。
产品特性
电源电压范围:1.8V~5.5V;
超低输入失调电压(VOS):15uV(MAX);
零漂移:±0.02uV/°C;
低功耗(IQ):17uA/Channel;
支持轨到轨输入和输出;
低输入噪声(en):1.1 uVPP, 0.1 Hz to 10 Hz ;
扩展级工业温度范围:-40°C ~ 125°C;
管脚定义

典型应用

来源:力芯微电子