宇称电子推出自主研发的2通道和4通道激光雷达ASIC芯片MPT2022、MPT2042。该系列芯片针对各种激光雷达信号处理的光电探测器和工业测量的光电探测器做了深度优化,匹配目前主流厂商的多款SiPM和APD产品,帮助用户轻松应对高集成、低成本的飞行时间(ToF)应用。MPT2022和MPT2042可广泛应用于激光雷达、工业传感与测量等细分市场领域。
除此之外,宇称电子在早前也已经发布同系列8通道产品MPT2082。

MPT2022

MPT2042
d-ToF原理

d-ToF是利用计时模块,直接获取光信号从发射经目标反射后到达探测器所需的时间,通过TDC将时间量化为数字码,译码后可还原成ToF信息。
d-ToF工程实现

以上图片来源于EPFL机构Edoardo Charbon的相关资料
d-ToF具体实现起来也面临一些挑战。例如探测器的死时间、jitter、动态范围等问题,模拟前端的增益控制以及滤噪技术,而且还需要高精度TDC。MPT2022和MPT2042正是为了完美解决这些难题而诞生的!
4通道激光雷达专用ASIC芯片MPT2042
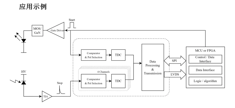
以MPT2042为例,它是一款4通道ToF测量用ASIC芯片,针对高精度飞行时间测量及通用时间测量应用。芯片集成4路模拟输入和一路独立的START信号输入通道。每个通道均集成高速比较器,同时搭载独立的高精度TDC(25皮秒时间分辨率),可对输入信号的上升沿/下降沿进行测量,结合START通道测量的时间,提供飞行时间信息。测量数据可通过LVDS高速串行差分数据接口或SPI数据接口传输。
MPT2042可应用于激光雷达系统,片内1路同步时间测量通道可对FPGA或MCU给出的同步时间(激光器触发时间)进行测量,同时4路模拟通道可对探测器(SiPM或APD)感光的回波信号获取时间信息,并计算与同步时间的差值,飞行时间信息回馈给FPGA或MCU处理后可得出被测物体的距离信息。

激光雷达系统架构
MPT2042主要特点

4路模拟输入通道
支持4个通道并行信号处理
通道内置比较器与双边沿采样模式
25ps精度19bit位宽时间数字转换器TDC
SPI总线控制
LVDS或SPI数据传输
最高640M数据传输速率
最高20Mcps传输事件率
高集成度,低功耗
QFN32封装
MPT2022主要特点

2路模拟输入通道
支持2个通道并行信号处理
通道内置比较器与双边沿采样模式
25ps精度19bit位宽时间数字转换器TDC
SPI总线控制
LVDS或SPI数据传输
最高640M数据传输速率
最高20Mcps传输事件率
高集成度,低功耗
QFN32封装
MPT2022/MPT2042/MPT2082样片及评估套件已开始接受预订。
如需送样,请联系宇称电子市场部:market@microparity.com